Eine Beschreibung aller Knöpfe und Funktionen bekommen Sie hier.

1. Drehknopf

  • Drehen Sie den Drehknopf im Uhrzeigersinn, um WAKEit einzuschalten . Gegen den Uhrzeigersinn drehen, um es auszuschalten.
  • Der Drehknopf regelt auch die Lautstärke . Drehen Sie den Drehknopf im Uhrzeigersinn, um die Lautstärke zu erhöhen, und gegen den Uhrzeigersinn, um sie zu verringern.
    wakeit_dial_button_ddd.PNG

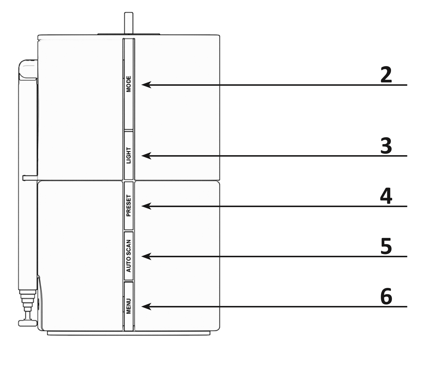
2. MODE

  • Drücken Sie den MODE-Knopf, um zwischen den drei Funktionen umzuschalten: DAB+-Radio, FM-Radio oder Bluetooth.
  • Drücken Sie die MODE-Taste und halten Sie sie gedrückt, um das Radio oder Bluetooth auszuschalten.

3. LIGHT

  • Drücken Sie auf LIGHT, um die Displayhelligkeit anzupassen.
  • Drücken Sie die LIGHT-Taste, um die Bildschirmhelligkeit einzustellen.
  • Halten Sie die LIGHT-Taste gedrückt, um das Wecklicht auf der Rückseite ein-/auszuschalten.

4. PRESET

  • Wenn sich WAKEit im DAB+ oder FM-Modus befindet, drücken Sie die Taste PRESET, um auf die Liste der voreingestellten Sender zuzugreifen.
  • Die Taste PRESET funktioniert nur, wenn sich WAKEit im DAB+- oder FM-Modus befindet.
  • Wir gehen die Schritte zum Speichern von Radiosendern auf Seite 28 durch.

5. AUTO SCAN

  • Wenn sich WAKEit im DAB+- oder FM-Modus befindet, können Sie durch Drücken der Taste AUTO SCAN einen Suchlauf nach verfügbaren Sendern starten.

6. MENU

  • Drücken Sie die MENU-Taste, um auf die Einstellungen von WAKEit zuzugreifen.
  • Die Einstellungen werden auf Seite 29 erklärt.
    wakeit_buttons.png

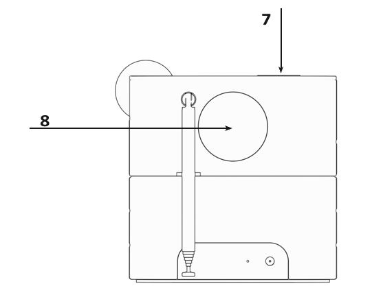
7. Kabelloses Laden

  • Oben auf dem WAKEit finden Sie das kabellose Ladegerät (gekennzeichnet durch das X).
  • Wenn das WAKEit eingeschaltet ist, legen Sie ein Gerät, das drahtloses Laden unterstützt, auf das Ladepad. Das Gerät beginnt dann automatisch mit dem Aufladen.

HINWEIS:

Das drahtlose Aufladen kann die Funksignale stören. Es wird daher nicht empfohlen, ein Gerät aufzuladen, während es sich im DAB+- oder FM-Modus befindet. Seien Sie sich dessen bewusst, wenn Sie die Funkkanäle als Alarm verwenden möchten, während Sie Ihr Telefon aufladen.

8. Wecklicht

  • Auf der Rückseite von WAKEit finden Sie das Wecklicht.
  • Wenn es aktiviert ist, beginnt das Wecklicht vor Ihrem Wecker und emuliert den Sonnenaufgang.
  • Das Wecklicht kann auch als Nachtlicht verwendet werden, indem es mit der LIGHT-Taste ein- und ausgeschaltet wird.
    Wakeit_light_wireless.PNG

9. ALARM

  • Drücken Sie die ALARM-Taste, um einen Wecker zu stellen . Sie können bis zu 2 Alarme gleichzeitig einstellen lassen.
  • Wenn ein Alarm ausgelöst wird, drücken Sie die ALARM-Taste, um ihn zu stoppen.

(Alle anderen Tasten lassen den Alarm für 5 Minuten einschlafen)

  • Auf Seite 28 können Sie sehen, wie Sie einen Alarm einstellen.

Die Funktionen der Pfeilknöpfe, Play/Pause/ENTER

 

10 & 12. Pfeile hoch & runter

  • Im DAB+-Modus: Drücken Sie die Pfeiltasten Auf und Ab, um Sender auszuwählen.
  • Im FM-Modus: Halten Sie eine der Pfeiltasten gedrückt, um das Band nach dem nächsten Sender zu durchsuchen.
  • Im Bluetooth-Modus: Drücken Sie die Pfeiltasten, um den vorherigen oder nächsten Titel abzuspielen.
  • Unter Einstellungen oder Alarmmenü-Liste: Drücken Sie die Tasten, um zu navigieren oder Einstellungen anzupassen.

11. Wiedergabe/Pause/ENTER

  • Im DAB+- und FM-Modus: Drücken Sie die ENTER-Taste, um den Ton stummzuschalten.
  • Im Bluetooth-Modus: Drücken Sie die ENTER-Taste, um die Musik anzuhalten oder abzuspielen.
  • Unter der Menü- oder Alarmmenü-Liste: Drücken Sie diese Taste zur Auswahl und Bestätigung.

Während eines eingehenden Anrufs (Nur wenn WAKEit mit Bluetooth verbunden ist): Drücken Sie die ENTER-Taste, um den Anruf entgegenzunehmen . Drücken Sie die Taste und halten Sie sie gedrückt, um den Anruf abzulehnen . Während eines Anrufs: Drücken Sie die ENTER-Taste, um den Anruf zu beendenwakeit_alarm_etc..PNG