Here follows a description of all buttons and features.

1. Dial button

  • Rotating the dial button clockwise to turn WAKEit On. Counterclockwise to turn it Off.
  • The dial button also controls the volume. Turn the dial button clockwise to turn the volume up, counterclockwise to turn it down.
    wakeit_dial_button_ddd.PNG

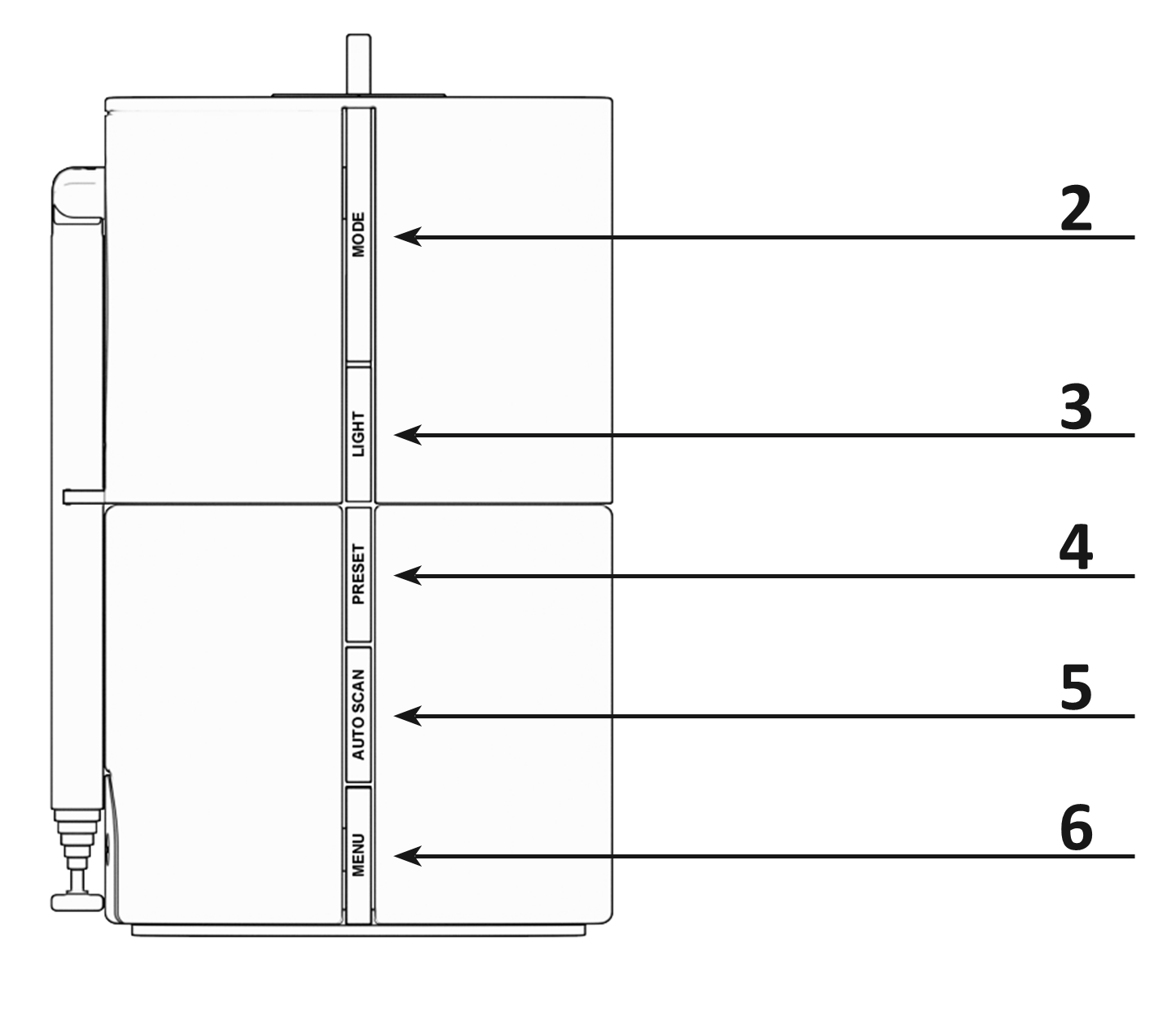
2. MODE

  • Press the MODE button to switch between the three functions: DAB+ radio, FM-radio, or Bluetooth .
  • Press and hold the MODE button to turn off the radio or Bluetooth.

3. LIGHT

  • Press the LIGHT button to adjust the screen brightness.
  • Press and hold LIGHT button to turn the wakeup light on the back on/off.

 

4. PRESET

  • When WAKEit is in DAB+ or FM-mode, press the PRESET button to access the preset stations list .
  • The PRESET button only work when the WAKEit is in DAB+ or FM mode.
  • We go through the steps of storing radio channels on page 8 .

5. AUTO SCAN

  • When WAKEit is in DAB+ or FM-mode, you can start a scan for available stations by pressing the AUTO SCAN button.

6. MENU

  • Press the MENU button to access the settings of WAKEit
  • Settings are explained on page 9.
    wakeit_buttons.png

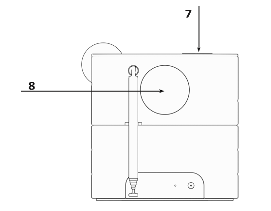
    7. Wireless charging pad

    • On top of the WAKEit you will find the wireless charger (marked by the X).
    • When the WAKEit is turned on, place a device that supports wireless charging on the charging pad. The device will start charging automatically.

     

    NOTE:

    Wireless charging can interfere with radio signals. It is therefore not recommended to charge any device while in the DAB+ or FM mode. Be aware of this if you wish to use the radio channels as an alarm while you are charging your phone.

    8. Wake-up light

    • On the back of WAKEit you will find the wake-up light.
    • When activated, the wake-up light will begin before your alarm and emulate the sun coming up.
    • The wake-up light can also be used as a night lamp, turning it on/off with the LIGHT button.
      Wakeit_light_wireless.PNG

    9. ALARM

    • Press the ALARM button to set an alarm. You can have up to 2 alarms set at the same time.
    • When an alarm goes off, press the ALARM button to stop it.

    (All other buttons snooze the alarm for 5 minutes)

    • On page 8 you can see how you set an alarm .

    The Arrow Up & Down and The Play/Pause/ENTER buttons are used to control and navigate the WAKEit:

     

    10 & 12. Arrow Up & Down

    • In DAB+ mode: Press up and down on the arrow buttons to select stations.
    • In FM mode: Press and hold one of the arrow buttons to scan the band for the next station.
    • In Bluetooth mode: Press the arrow buttons to play previous or next track.
    • Under settings or alarm menu list: Press the buttons to navigate or adjust settings.

    11. Play/Pause/ENTER

    • In DAB+ and FM mode: Press the ENTER button to mute the sound.
    • In Bluetooth mode: Press the ENTER button to pause or play music.
    • Under the Menu or Alarm menu list: Press this button to select & confirm.
    • During an incoming call (Only if WAKEit is connected to Bluetooth):

    Press the ENTER button to pick up the call. Press and hold the button to refuse the call.

    During a call press the ENTER button to finish the call.
    wakeit_alarm_etc..PNG